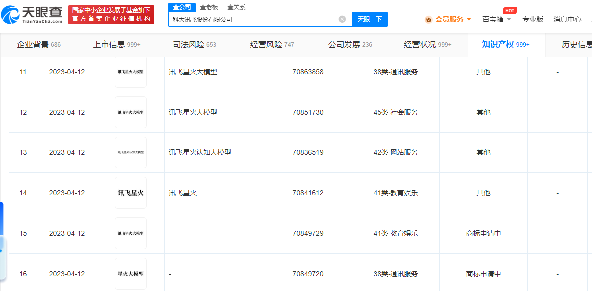
天眼查app显示,近日,科大讯飞股份有限公司申请注册多个“讯飞星火大模型”“讯飞星火认知大模型”“spark desk”“星火”等商标,国际分类涉及广告销售、科学仪器、教育娱乐等,当前商标进度均为申请中。
据媒体近日报道,继文心一言、通义千问等国内类chatgpt大模型问世,科大讯飞也开始角逐国内大语言模型市场。根据计划,科大讯飞将于5月6日正式发布讯飞“星火”认知大模型,并将同步推出面向教育、办公、车载等行业的尊龙凯时注册的解决方案。


郑重声明:此文内容为本网站转载企业宣传资讯,目的在于传播更多信息,与本站立场无关。仅供读者参考,并请自行核实相关内容。