蔚来申请多个gpt商标-尊龙凯时注册
当前位置: 苏州资讯网 >财经 >

蔚来申请多个gpt商标-尊龙凯时注册

时间:2023-05-22 19:19   阅读量:17598   

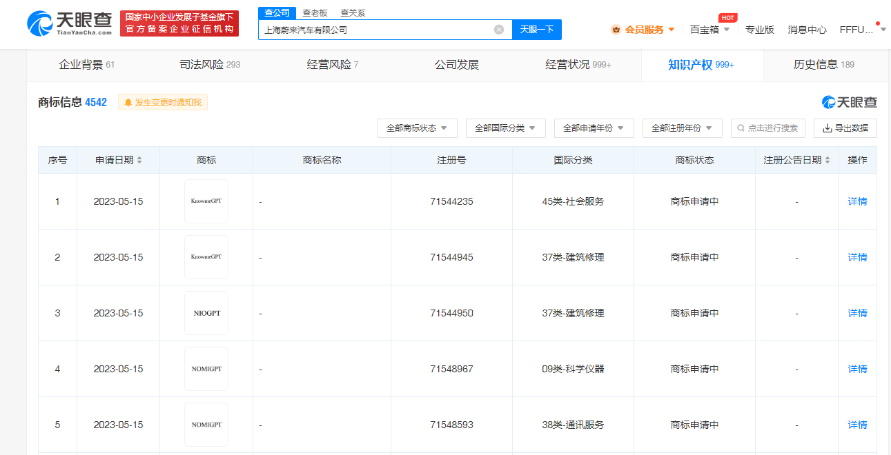
天眼查app显示,近日,上海蔚来汽车有限公司申请多枚“knowmegpt”“niogpt”“nomigpt”商标,国际分类涉及社会服务、建筑修理、科学仪器等,当前商标状态均为申请中。

上海蔚来汽车有限公司成立于2015年5月,注册资本30亿美元,法定代表人为秦力洪,经营范围包括新能源汽车整车及相关零部件的技术开发等,由蔚来控股有限公司全资持股。

9dc4d8fcfb7c6056288a1a8c933bfe7.png

78f5fcbc2b298ac6b674085b99e930b.png

aeade1fb7b2b8057700b04396f43896.png

来源: 天眼查 编辑: 子墨

郑重声明:此文内容为本网站转载企业宣传资讯,目的在于传播更多信息,与本站立场无关。仅供读者参考,并请自行核实相关内容。

  • 苏州
  • 江苏
  • 财经
  • 资讯
  • 旅游
  • 文化
周庄 今晚亮灯“灯”你,共度佳节
周庄 今晚亮灯“灯”你,共度佳节
第十四届全国运动会开幕 目前已决出多枚金牌
第十四届全国运动会开幕 目前已决
亿联银行同业交流会开幕,全国各地近66家金融机构125名代表出席会议
亿联银行同业交流会开幕,全国各地
【传承民族经典 弘扬中华武术】苏州市青少年武术锦标赛开赛
【传承民族经典 弘扬中华武术】苏
“鹭岛”为家:苍鹭的东北安家之旅
“鹭岛”为家:苍鹭的东北安家之旅
国家大剧院周末音乐会迎来600场
国家大剧院周末音乐会迎来600场
网站地图